Rất nhiều người đã vui mừng khi công nghệ tấm nền OLED có thể gập lại cuối cùng đã vượt ra khỏi phòng thí nghiệm và sẵn sàng thương mại hóa. Nhưng mức giá cao chót vót của hai mẫu điện thoại gập đã nhanh chóng dập tắt một số ham muốn sở hữu của người dùng. Và nếu 2019 không phải là năm mà điện thoại gập có thể chiếm lĩnh thị trường, thì có lẽ năm 2020 sẽ đánh dấu sự thành công của loại hình điện thoại mới này.
Apple – người khổng lồ trên thị trường điện thoại thông minh có định sản xuất điện thoại gập không, và nếu có thì là bao giờ?
Mặc dù chúng tôi không biết những gì Apple đang làm trong phòng thí nghiệm, nhưng có nhiều lý do khiến “Táo khuyết” không muốn phát hành một chiếc iPhone có thể gập lại vào thời điểm này. Apple có thể sẽ làm trong tương lai, nhưng ít nhất vào thời điểm hiện tại, công ty có trụ sở ở Cupertino dường như đang ở một vị trí tốt và không cần phải nhảy vào thị trường mới này ngay lập tức. Ái chà, đây là lý do tại sao:
Dù Galaxy Fold và Mate X đã trình làng, nhưng công nghệ điện thoại gập vẫn chưa sẵn sàng
![]() |
|
Samsung Galaxy Fold (ảnh: Expert Review)
|
Tất cả chúng ta đều biết rằng cả Galaxy Fold và Mate X đều không phải là những sản phẩm đem lại doanh số khủng. Đây là hai mẫu điện thoại gập mang tính thử nghiệm, thăm dò thị trường. Và theo những gì mà chúng tôi thấy tại triển lãm MWC 2019, rõ ràng cả hai hãng đang gặp khó khăn trong việc sản xuất đủ sản lượng, chưa kể đến các vấn đề thiết kế khác như màn hình không đồng đều mà chúng tôi nhận thấy cả ở Samsung và Huawei.
Tại thời điểm này, rõ ràng Apple không vội vàng công bố một chiếc điện thoại có thể gập lại - công nghệ còn quá “non trẻ” để Apple sản xuất một sản phẩm tiêu dùng phù hợp. Để sản xuất điện thoại gập, nhiều vấn đề cần được giải quyết như cảm ứng ở phần màn hình gập lại, độ bền của tấm nền màn hình, độ tin cậy lâu dài, độ thanh lịch của thiết kế, v.v ... Cả Galaxy Fold và Mate X đều ấn tượng, nhưng nó chưa hoàn hảo. Apple không thể phát hành một sản phẩm như vậy trên thị trường.
Một vấn đề khác là quy mô sản lượng. Khi Apple ra mắt một chiếc iPhone có thể gập lại, hãng cần phải có khả năng sản xuất trên quy mô lớn. Hiện tại, chưa rõ liệu điều này có khả thi hay không, nhưng mức giá quá cao của Galaxy Fold và Mate X cho thấy các hãng khó lòng có một sản lượng lớn. Hơn nữa, không người dùng nào muốn sở hữu mãi mãi một chiếc iPhone, kể cả iPhone gập lại được.
Apple sẽ phải giải quyết bài toán tiêu thụ iPad nếu ra mắt iPhone gập được
Apple phải tính đến doanh số iPad nếu tung ra iPhone gập đôi. Người dùng có thể sẽ chỉ mua iPhone gập đôi thay vì mua cả iPhone và iPad. Hiện trên thị trường, doanh số máy tính bảng nói chung đang giảm dần, nhưng lượng bán iPad vẫn ở mức tốt. Số lượng iPad mà Apple bán ra mỗi quý gần bằng lượng bán điện thoại Galaxy S cả Samsung (khoảng 10 triệu chiếc).
![]() |
|
iPad tốt hơn là một chiếc điện thoại gập đôi được mở ra (ảnh: Phone Arena)
|
Apple thường không thích các sản phẩm “lai căng”. Nếu đó là một chiếc điện thoại, nó cần phải mỏng và nhẹ. Nếu đó là một chiếc máy tính bảng, nó cần phải to và mạnh mẽ. Một chiếc iPhone có thể gập lại nếu được tung ra chắc chắn sẽ phải khá dày và nặng. Các sản phẩm có thể gập lại của Samsung và Huawei có trọng lượng khoảng 300 gram - bạn có muốn mang cân nặng này trong túi của mình không?
Điện thoại gập không đem lại trải nghiệm giống như một chiếc điện thoại cao cấp, nó cũng không phải là máy tính bảng thực sự, bởi vì màn hình vẫn không quá lớn, và không chắc nhiều tính năng của iPad có thể thực hiện được, chẳng hạn như hỗ trợ Apple Pencil, bộ xử lý nhanh hơn, loa mạnh hơn, v.v…
Apple không thích các cơ cấu chuyển động
Thiết bị di động trong thời gian qua đã chứng kiến nhiều sự thay đổi: ổ SSD thay thế ổ cứng HDD, điện thoại trượt và điện thoại vỏ sò nhường chỗ cho điện thoại nguyên khối, bàn phím numpad và QWERTY đã được thay thế bằng bàn phím cảm ứng, v.v… Có một vài mẫu điện thoại nắp trượt ra mắt trong năm ngoái, nhưng những chiếc điện thoại này sẽ không tồn tại lâu dài. Điện thoại nguyên khối đang quá tốt và khó lòng bị thay thế.
![]() |
|
Cơ cấu gập đôi có thể là điểm yếu trên những chiếc điện thoại gập (ảnh: Phone Arena)
|
Vậy bao giờ Apple mới tung ra một chiếc iPhone có thể gập được? Chắc chắn phải mất một thời gian dài, khi công nghệ đủ trưởng thành để Apple bắt tay vào sản xuất. Kết cấu bản lề của điện thoại gập cần phải rất chắc chắn và đáng tin cậy, tương tự là màn hình uốn cong. Ai biết được sẽ mất bao lâu để các thành phần đó đáp ứng được yêu cầu của Apple để hãng tung ra một sản phẩm tiêu dùng vừa độc đáo vừa thiết thực.
Apple đang tập trung nhiều nguồn lực để phát triển thiết bị hỗ trợ Thực tế Tăng cường (AR). Thật thú vị nếu chúng ta được thấy một chiếc iPhone gập đôi có hỗ trợ AR trong tương lai.
Công việc kinh doanh của Apple đang tương đối tốt và “Táo khuyết” không cần vội vàng tạo ra một chiếc iPhone có thể gập lại
Apple bắt đầu không gặp phải sự cạnh tranh quyết liệt trong phân khúc cao cấp (doanh số Galaxy S9 gây thất vọng và không có lý do gì để tin rằng dòng Galaxy S10 sẽ làm tốt hơn). Tình hình đang khá tốt cho iPhone trong năm nay và năm tiếp theo. Với kết quả kinh doanh không khả quan của bộ phận di động của Samsung, sẽ không ngạc nhiên khi thấy công ty Hàn Quốc quyết định tập trung nhiều hơn vào điện thoại gập, với hy vọng đem lại doanh thu tốt cho công ty. Điều này sẽ giúp Apple tung hoành trong thị trường điện thoại 1.000 USD.
Theo kịch bản này, sẽ hoàn toàn vô nghĩa nếu Apple vội vàng phát hành một chiếc iPhone có thể gập lại. “Táo khuyết” muốn tận dụng thời điểm này, ít nhất là trong một năm, thậm chí là hai năm, tùy thuộc vào việc công nghệ điện thoại gập hoàn thiện nhanh như thế nào, sau đó Apple sẽ tung vào thị trường một sản phẩm được đánh bóng và đúng thời gian để tận dụng sự quan tâm của người dùng đến điện thoại gập.
Một chiếc iPhone có thể gập đôi sẽ cái cớ để Apple xác lập một mức giá cao hơn cho điện thoại của hãng
Xác lập được một mức giá cao hơn để có lợi nhiều hơn, đây chính là mục tiêu của Apple và đó cũng có thể là lý do để Apple tung ra iPhone gập đôi. Với sự ra mắt của iPhone X và iPad Pro mới, Apple đã đưa ra chiến lược tăng trưởng mới: cụ thể là tìm lý do để đẩy giá bán trung bình cao hơn.
Một chiếc iPhone có thể gập lại với mức giá khoảng 1.500 USD sẽ phù hợp với chiến lược này, cho phép Apple bổ sung thêm một mức giá khác so với những gì hãng hiện có. Tuy nhiên, đây là một lý do nữa khiến thời gian cho một chiếc iPhone có thể gập lại chắc chắn không phải bây giờ - giá của các linh kiện sẽ phải giảm để Apple có thể sản xuất một sản phẩm thương mại.
![]() |
|
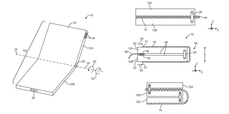
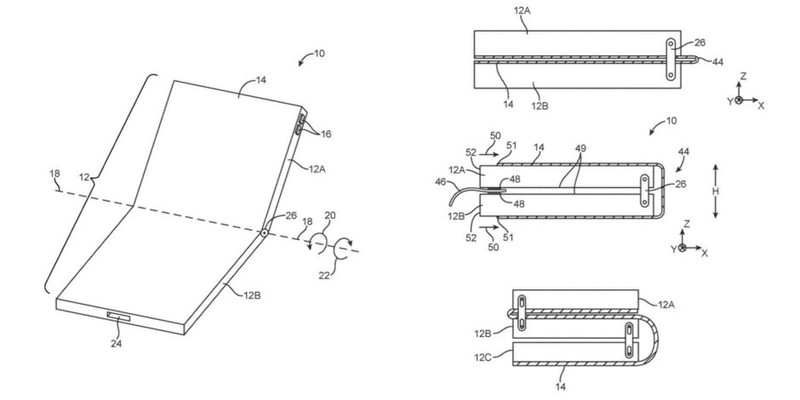
Bằng sáng chế của Apple liên quan đến điện thoại gập (ảnh: Phone Arena)
|
Vẫn còn tương đối sớm để kết luận Apple có tung ra iPhone gập lại hay không. Chúng tôi biết có một số bằng sáng chế của Apple liên quan đến các công nghệ uốn gập, nhưng các công ty đều có bằng sáng chế cho tất cả mọi thứ, vì vậy những bằng sáng chế này không chắc sẽ được hiện thực hóa. Tùy thuộc sự đón nhận của thị trường, việc Apple có thể phát hành một chiếc iPhone gập đôi hay không vẫn là một dấu chấm hỏi. Có thể vào một lúc nào đó trong tương lai, nhưng chắc chắn là không phải bây giờ.




