Một bằng sáng chế được Samsung đệ trình lên Văn phòng Thương hiệu và Bằng sáng chế Hoa Kỳ (USPTO) cho thấy những hình vẽ kỳ lạ liên quan đến chiếc Galaxy Note phiên bản kế tiếp. Có vẻ như Samsung không muốn sử dụng thiết kế màn hình có mấu đen (notch) cũng như màn hình đục lỗ. Mặc dù màn hình không còn chỗ chứa camera trước, nhưng người dùng vẫn có thể chụp ảnh tự sướng được. Đó là vì nhà sản xuất Hàn Quốc đã thực hiện một số thay đổi quan trọng với bút Spen.
|
|
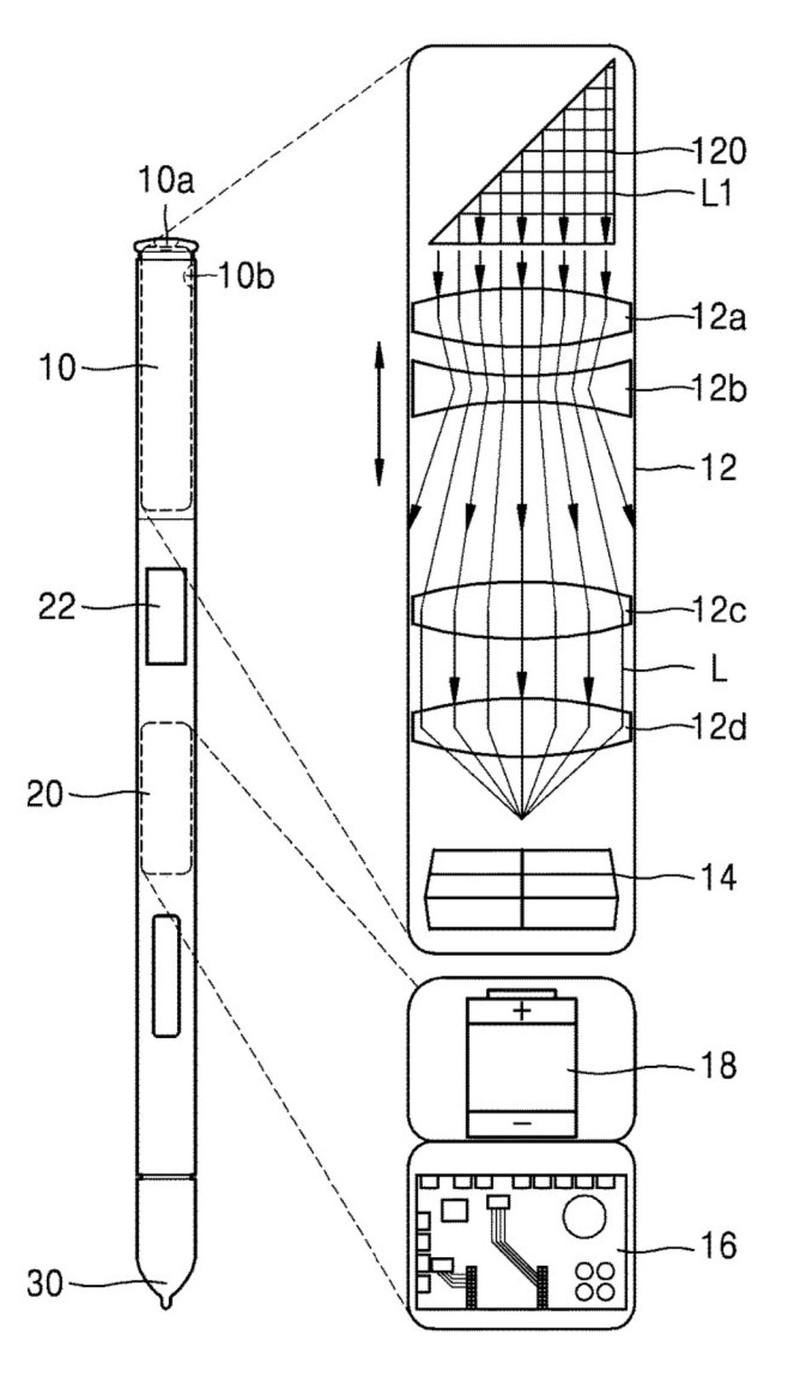
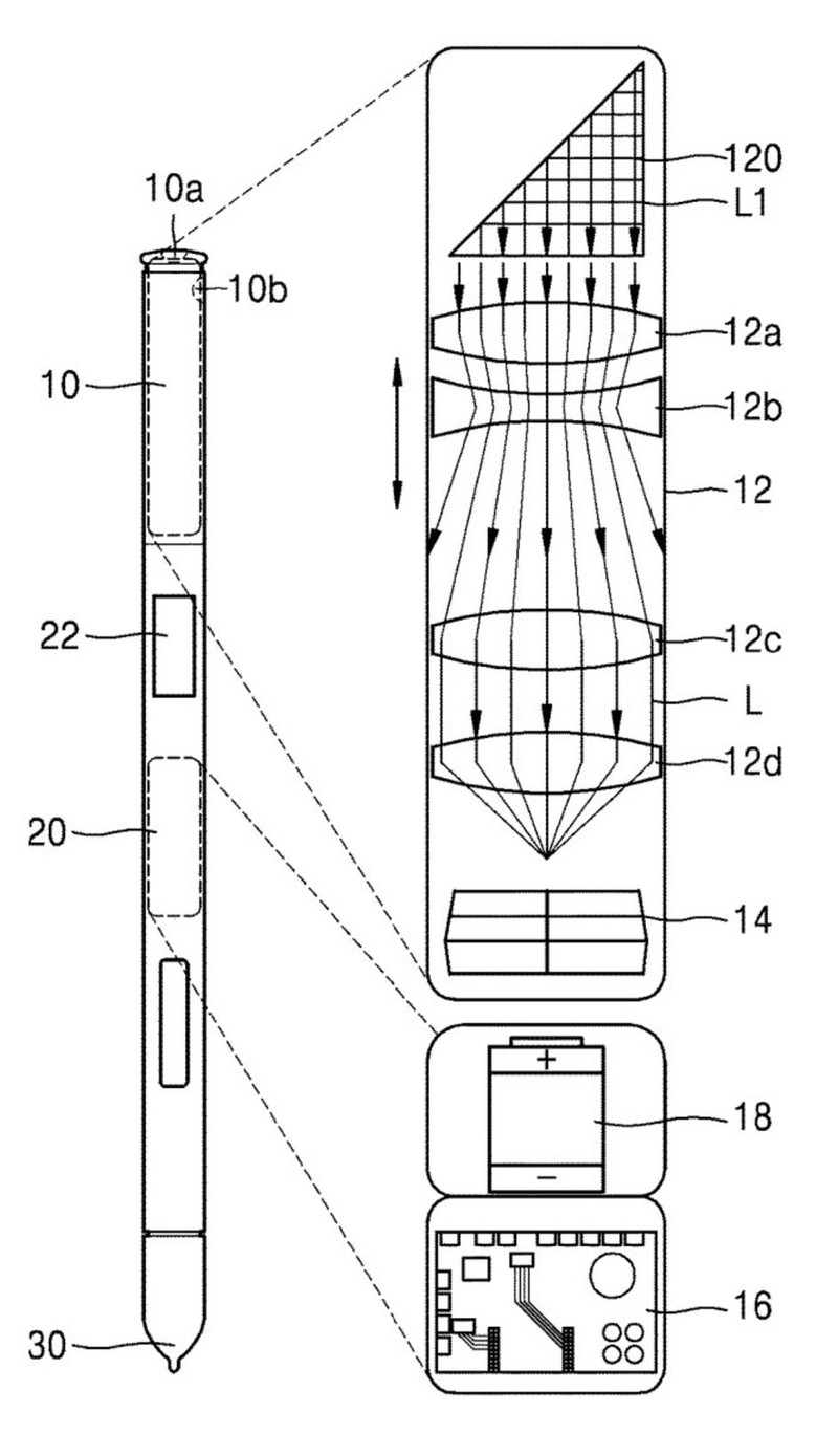
Hình vẽ trong bằng sáng chế cho thấy Spen sẽ được tích hợp ít nhất một ống kính và một cảm biến hình ảnh. Camera tích hợp bên trong bút sẽ được điều khiển thông qua một nút bấm trên thân bút. Một nút bấm đặt ở vị trí thấp hơn sẽ cho phép người dùng điều khiển chụp xa gần (zoom).
Bút Spen là một thiết bị không thể thiếu được của dòng Galaxy Note. Tuy nhiên, chưa rõ chiếc Spen có tích hợp camera sẽ thuộc phiên bản Galaxy Note nào. Hơn nữa, dù việc tích hợp camera sẽ tăng tính hữu dụng cho Spen, nhưng chưa chắc Samsung đã từ bỏ camera selfie trên điện thoại. Chúng ta chỉ có thể dự đoán rằng chiếc Spen tương lai sẽ cho phép người dùng chụp ảnh mà không cần sử dụng điện thoại.
