
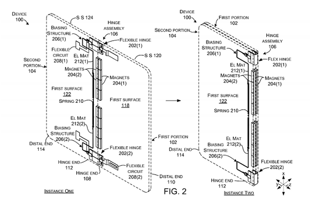
Hình ảnh trên bằng sáng chế cho thấy thiết bị có kích thước giống với một chiếc điện thoại hơn là một chiếc máy tính bảng. Một bản lề khá phức tạp cho phép máy tính bảng cung cấp giao diện ở 3 góc độ: ở 0 độ, máy tính bảng ở trạng thái đóng, ở 180 độ, thiết bị trong trạng thái mở phẳng, và ở 360 độ nó hoàn toàn trong trạng thái mở.
Khi ở góc 180 độ, màn hình bên trong hiển thị một giao diện người dùng đơn lẻ. Trong các góc mở khác, mỗi màn hình sẽ hiển thị giao diện riêng của nó. Khi được mở ở góc độ 180 độ, việc sử dụng nam châm sẽ cho phép màn hình hiển thị liền mạch.


Theo một số suy đoán thì thiết bị sẽ chạy Windows 10, mặc dù cũng có thể thiết bị thậm chí sẽ chẳng bao giờ được "nhìn thấy ánh sáng mặt trời". Thật thú vị là Microsoft cũng từng giới thiệu một chiếc máy tính bảng có thể gập được trong một video năm 2009.